- 蘋果公司申請了三項基于生物識別傳感器的技術專利
- 來源:賽斯維傳感器網 發表于 2021/3/10
蘋果似乎正在通過針對各種健康指標(包括AR / VR,血糖監測和臨床睡眠分析)的新專利,進一步進入健康市場。
盡管蘋果公司傳統上對即將推出的設計保持沉默(出于IP的原因,這是可以理解的),但該技術巨頭在其公開申請的專利中并未提及其技術的總體方向。
蘋果公司最近申請了三項專利,這些專利圍繞直接和間接應用中的健康監控方面取得了進展-從血糖監控,臨床睡眠分析到增強視力。

Apple Watch 6上的Apple血氧傳感器圖像。這是Apple過去創建的醫療專用傳感器的示例。圖片由Apple提供
這些專利引用了以下技術中的獨特用例:
具有光束轉向技術的紅外收發器,結合可見光捕獲和顯示(專利申請:20210041291)
專注于可變入射EM角的太赫茲光譜性能增強(專利申請:20210041376)
基于單層中多個橫向相鄰基板的睡眠傳感器(專利申請:20210038092)
使用可見光和紅外光的增強物體識別
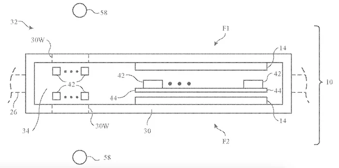
該設備中用于光束轉向紅外光感測的專利申請將“設備10”稱為顯示器具有多種方向(在下圖中標記為“ 14”),具體取決于設備的用途。

“裝置10”的示意圖,包括所提出的用于紅外傳感的應用的外殼和元件。圖片由美國專利局提供
這些用途可能包括蜂窩電話或頭戴式設備。
該設備可以根據詳細描述,基于接收到的變化的光強度的光譜來表征物體。該專利要求該設備具有在可見光,紫外和紅外光譜范圍內執行光學傳感的能力。
它還建議通過位置數據(包括方向和傾斜度)來支持自動波束控制操作。
蘋果公司的紅外專利申請顯示了一個外殼的簡單橫截面圖,其中包含諸如PCB(標記為44),組件(標記為42)和以窗口布置方式顯示的光學元件(標記為30W)之類的元件。
傳統上,IR感應具有廣泛的應用,包括運動檢測,接近和傾斜檢測。
這項新專利表明,用戶可能希望使用光學感應器檢查食品,以評估其成熟度,卡路里含量等。這種感應器可以根據物體的大小,形狀,顏色,光澤度和其他屬性,通過模式匹配來分析食物或食物。
從推測上講,這可能適用于視力受損的情況,在這種情況下,用戶需要對象識別和表征以幫助日常生活。
太赫茲輻射的非侵入性葡萄糖分析?
蘋果公司已經提交了第二個針對在太赫茲頻率范圍內運行的電磁(EM)設備的申請。該設備的目的似乎是在“動態環境”中表征液體,固體或等離子體。
這種感知的進步可能適用于血液中的葡萄糖濃度,從而減輕了糖尿病患者長期采樣血糖水平的痛苦過程。
該專利的具體用途含糊不清,細節表明“發送/接收太赫茲EM波的電子設備正在變化,和/或在環境中反映太赫茲波的一個或多個物體的位置和/或方向正在移動。 。”
該聲明可能表明該設備可用于可穿戴技術。
據說該提議的設備通過傳輸和接收中的多極化來提高SNR。

改善SNR的設備的關鍵特征是在發射和接收中使用了多個極化。圖片由美國專利局提供
帶有多個極化的這種設計可能會引起RF設計者的興趣。點對點EM應用經常遇到與極化有關的信號質量問題,并且由于天線未對準而產生損耗。
通過分析應用程序中的其他細節,此設備似乎可以量化設備周圍環境中的氣體濃度,包括基于0.692 THz的吸收光譜檢測一氧化碳(CO)。
與其他RF設備一樣,太赫茲輻射傳感器可以基于外差原理(下變頻)或通過直接檢測進行操作。選擇接收器方法的控制標準之一是相位信息(外差)對設計者是否重要。
使用這兩項技術專利的具體應用尚不清楚,但似乎蘋果公司總體上打算使用該技術來增強健康監控。
用高科技床上用品表征睡眠模式
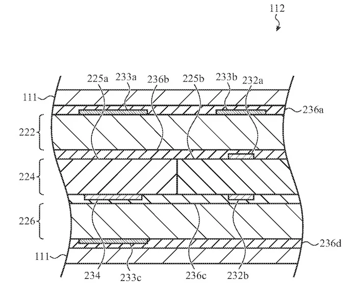
蘋果公司最終的專利技術著重于收集與睡眠質量有關的生物識別數據。該技術的主要特點是其薄型外形和靈活性,使其在睡眠時不會打擾用戶。
傳感器技術的電極是多層基板,可根據力機制(例如用戶在床上的位置,心跳和呼吸指標)生成信號。

在所提出的設備中,虛線矩形(100)是指由電極的相互縫合的層組成的非侵入式生物特征監測平臺。圖片由美國專利局提供
該專利相對于傳統睡眠監控的特定優勢在于制造平臺的每一層。每層基板中的多種材料可提供操作性能,同時“減少浪費的材料(并降低材料成本),減少睡眠監測器的整體厚度,增加睡眠監測器的靈活性并簡化制造”。

該圖是分層傳感器的橫截面設計的圖像。圖片由美國專利局提供。
E-CAD軟件集成了支持剛性-柔性設計的功能,因此柔性PCB設計變得越來越普遍。
Apple的新專利申請對于所有EE都具有令人感興趣的技術潛力,從使用紅外的物體識別到嵌入床單的傳感器技術。
- 如果本文收錄的圖片文字侵犯了您的權益,請及時與我們聯系,我們將在24內核實刪除,謝謝!















