- 空氣質量傳感器搭上智能手機?三星新專利曝光
- 來源:感知芯視界 發表于 2024/3/13
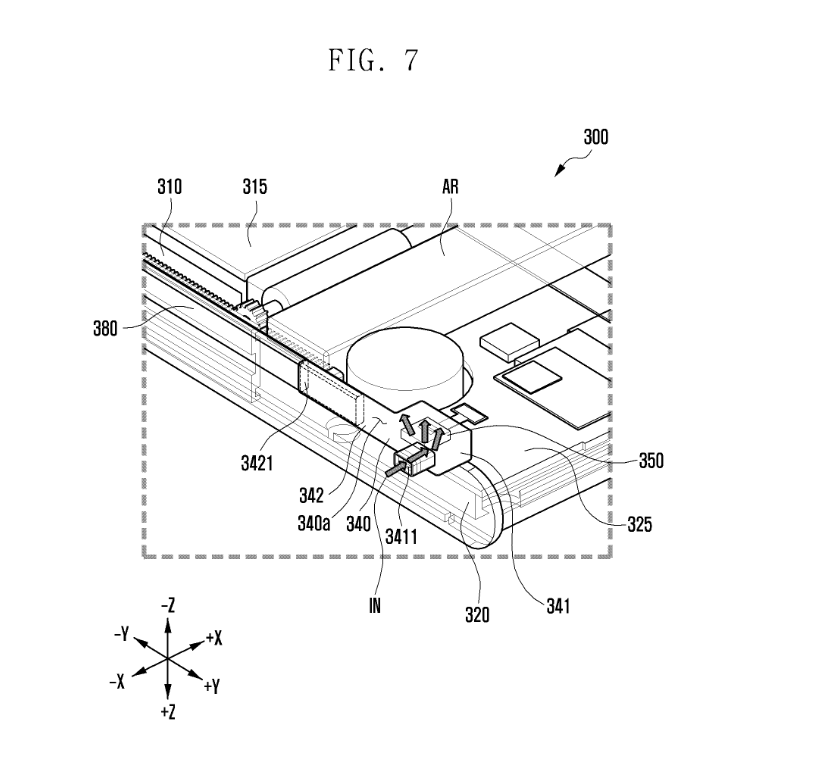
海外消息,三星最近獲得了一項可卷曲手機的專利。這款可卷曲手機時創新性地集成了空氣質量傳感器,這一創新功能可以幫助用戶實時監測空氣質量,滿足人們對空氣污染問題及空氣質量監測日益關注的需求。

據稱,這款三星設備有以下主要特點:

滑動外殼設計:調整顯示尺寸并控制流向傳感器的氣流。
可卷曲顯示屏:靈活的屏幕尺寸,可滿足用戶需求,同時保持設備緊湊。
集成氣流管道:將外部空氣引入空氣質量傳感器,提高空氣質量測量的準確性和速度。
智能開閉機構:根據外殼的滑動運動進行操作,通過控制空氣的流入來確保傳感器的最佳運行。
更快的傳感器響應:這種設計有助于傳感器更快地響應空氣質量的變化,為用戶提供及時的信息。
防止傳感器污染:防止內部組件污染傳感器,確保可靠的空氣質量讀數。
節省空間的設計:不需要額外的占用空間的組件,保持設備的時尚外觀。
此外,在專利相關草圖中,三星還公布了這款手機的更多細節:

人們對環境健康的日益關注,加上智能手機的普及,刺激了對能夠監測空氣質量的消費電子類產品需求。
盡管目前可卷曲智能手機僅存在于原型和概念中,尚未實現商用。但是如果三星真的把這個概念實現了,那未來這類設備將標志著健康和環境監測工具集成到日常電子設備中的重大飛躍。
通過利用技術手段提高人們對環境污染問題的了解和監測,將空氣質量傳感器集成到智能手機中,實現便捷空氣質量監測或許會成為關鍵一步,特別是面對全球日益嚴重的空氣污染情況下,這一技術解決方案對創造更環保、更可持續發展的社會有積極作用。
- 如果本文收錄的圖片文字侵犯了您的權益,請及時與我們聯系,我們將在24內核實刪除,謝謝!















