- 彎曲的傳感器組件可在將來使Apple Watch變得更薄
- 來源:加速度傳感器網 發表于 2020/8/24
蘋果公司不僅在尋求最大限度地提高Apple Watch中健康傳感器的效率的目的,還希望通過創建彎曲的傳感器元件以使其更好地適合外殼來最大程度地減少其占用的空間。

蘋果公司的一項新專利申請主要關注如何在Apple Watch中部署某些傳感器的細節。但是,歸根結底,這實際上是使手表更薄的方法。
“它可以是具有挑戰性納入傳感器,如光學傳感器[其中測量心臟速率]為電子設備,” 蘋果說: “電子設備具有光學傳感器采用弧形復合薄膜。”
“例如,”他繼續說,“用于為電子設備提供所需功能的光學組件可能太大或沒有吸引力,無法結合到電子設備中。”
與所有專利申請一樣,該專利試圖通過涵蓋從膝上型計算機到“包含嵌入式計算機的計算機顯示器”或“腕帶設備,懸垂設備,耳機或聽筒”的所有內容來嘗試涵蓋所有可能性。設備”等等。如果它可以容納光學傳感器,Apple希望此應用程序將其覆蓋。
但是,這實際上與Apple Watch有關。它說:“可穿戴設備可能具有在其中安裝了光學傳感器的可穿戴外殼。” “在操作過程中,來自光源的光可能會穿過外殼的透明部分,可能會從外部物體(例如手腕或用戶的其他身體部位)反射,并可能在通過光控制部件后被光電探測器接收。”
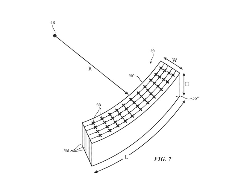
它繼續說:“光控元件可以安排在一個帶有中心的環中,并且可以具有帶有面向中心的凹面的彎曲形狀。”

專利中的細節顯示了傳感器彎曲的一種方式
這是關鍵部分,這種光學傳感器可能會被布置并彎曲,以占用盡可能少的空間。蘋果公司說:“每個光控部件都可以由一疊層壓彎曲的光控膜形成。” “用于堆疊的光控膜可以使用具有彎曲表面的層壓工具壓制成所需的彎曲形狀。”
Apple Watch內的空間已經非常寶貴。但是,該專利申請歸功于Tyler S. Bushell,他先前已申請了有關Digital Crown的專利。
一種方法是將表冠變成可識別手勢的觸敏區域,另一種方法是使表冠用作操縱桿。兩者都可以通過卸下Apple Watch外殼內的Digital Crown的活動部件來釋放空間。
- 如果本文收錄的圖片文字侵犯了您的權益,請及時與我們聯系,我們將在24內核實刪除,謝謝!















